вернуться
1 января 2018

Технологические линии производства и переработки глин, шамота и шлака

Невозможно представить современный строительный рынок без столь широкого разнообразия керамических изделий и материалов. Строительная керамика применяется непосредственно в строительстве при возведении стен, перекрытий зданий и сооружений, для внешней и внутренней облицовки, при строительстве дорог и коммуникаций, в санитарно-техническом направлении, а так же в качестве огнеупоров и теплоизоляции.

Незаменимыми компонентами при производстве керамических изделий являются пластичные глины и непластичные добавки придающие глинам различные свойства. Для этих целей и используются некоторые глины, шамот и различные шлаки.

Компания «Тульские Машины» предлагает готовые решения для вашего предприятия, представляющие собой технологические линии с дробилкой для глины, шамота, шлака.

Линия получения шамота

Технические характеристики

  • Производительность линии – до 5 т/ч.
  • Исходная фракция – dнач = 200-280 мм.
  • Получаемая фракция – dкон = -2 мм.
Получение шамота

Список применяемого оборудования

  1. Питатель ленточный ПЛ-800/550;
  2. Магнитный сепаратор;
  3. Дробилка ДВЗ-2М24;
  4. Конвейер ленточный;
  5. Дробилка МПС-600М;
  6. Конвейер ленточный;
  7. Питатель ящичный ПЛ-800;
  8. Циклон ЦН15-450 СП с бункером;
  9. Пылеуловитель ПЦ-2,0 с бункером V0,7 м3;
  10. Питатель секторный ПС-1В;
  11. Вентилятор ВР120-28-5;
  12. Шиберные заслонки;
  13. Шибер горизонтальный.

Порядок работы линии

  1. Исходный материал (отходы кирпича) загружается в бункер ленточного питателя (поз. 1), на трассе которого установлен магнитный сепаратор (поз. 2), предназначенный для улавливания металли-ческих включений.
  2. Питатель подает материал в валково-зубчатую дробилку (поз. 3), где происходит первичное измельчение до фракции -35 мм.
  3. Далее материал подается ленточным конвейером (поз. 4) в молотковую дробилку(поз. 5), где происходит измельчение до фракции готового продукта -2 мм.
  4. Готовый материал поступает посредством ленточного конвейера (поз. 6) в ящичный питатель (поз. 7), который производит необходимую подачу готового продукта на существующую транспортную систему.
  5. Из зон пыления производится отвод пылевоздушной смеси, которая для очищения проходит через циклон (поз. 8) и пылеуловитель (поз. 9). На бункерах аспирационной системы для отгрузки материала устанавливаются секторные питатели (поз. 10).
  6. Вентилятор (поз. 11) предназначен для обеспечения необходимых воздухопотоков в продуктопроводах линии, которые регулируются шиберными заслонками (поз. 12) и горизонтальными шиберами (поз. 13).

При необходимости линия может комплектоваться рукавным фильтром.

Производство молотой огнеупорной глины

Технические характеристики

  • Производительность линии – до 3000 кг/час.
  • Остаточная влажность глины – 6-10%.
  • Готовый материал – 2 мм.
Производство молотой огнеупорной глины

Список применяемого оборудования

  1. Стругач;
  2. Ленточный транспортер;
  3. Сушильный барабан;
  4. Элеватор;
  5. Расходный бункер;
  6. Ленточный питатель;
  7. Электромагнитный уловитель;
  8. Мельница МЦВ-3;
  9. Циклон-бункер ЦБ-3,5;
  10. Пылеуловитель II ПЦ‑2,0;
  11. Питатель секторный ПС-1;
  12. Шиберные заслонки;
  13. Вентилятор ВВД;
  14. Весы платформенные ВПН.

Порядок работы оборудования

  1. Глина со склада сырья загружается ковшовым погрузчиком в бункер глинорезной машины (стругача (поз. 1)) через решетку 250.
  2. После стругача измельченная (-60 мм) глина поступает на ленточный транспортер (поз. 2) и загружается в сушильный барабан (поз. 3).
  3. В сушильном барабане происходит сушка глины до влажности 6-10%. Теплоносителем является горячий воздух, полученный при сгорании природного газа. После отбора дымовые газы проходят через пылеуловители.
  4. Сухая глина элеватором (поз. 4) загружается в расходный бункер (поз. 5).
  5. Из расходного бункера сырье попадает на ленточный питатель (поз. 6), над которым расположен электромагнитный уловитель (поз. 7). Питатель осуществляет непрерывную регулируемую подачу очищенного от металлических предметов сырья в мельницу (поз. 8), в которой происходит измельчение глины до фракции 2 мм.
  6. После мельницы готовый материал попадает по продуктопроводу последовательно в систему циклон-бункера (поз. 9) и пылеуловителя (поз. 10). Степень очистки пылевоздушной смеси – свыше 98%.
  7. Готовый материал из бункеров, посредством секторных питателей (поз. 11), отгружается в транспортную тару (биг-бэги с полиэтиленовым вкладышем). Масса отгружаемой глины контролируется платформенными весами (поз. 15).
  8. Упакованный материал вывозится на склад погрузчиком с захватом вилочного типа (для захвата погрузчиком транспортная тара должна быть установлена на деревянных поддонах). Система пневмотранспорта, обеспечивая работу под разряжением, исключает зоны пыления помольного оборудования линии.

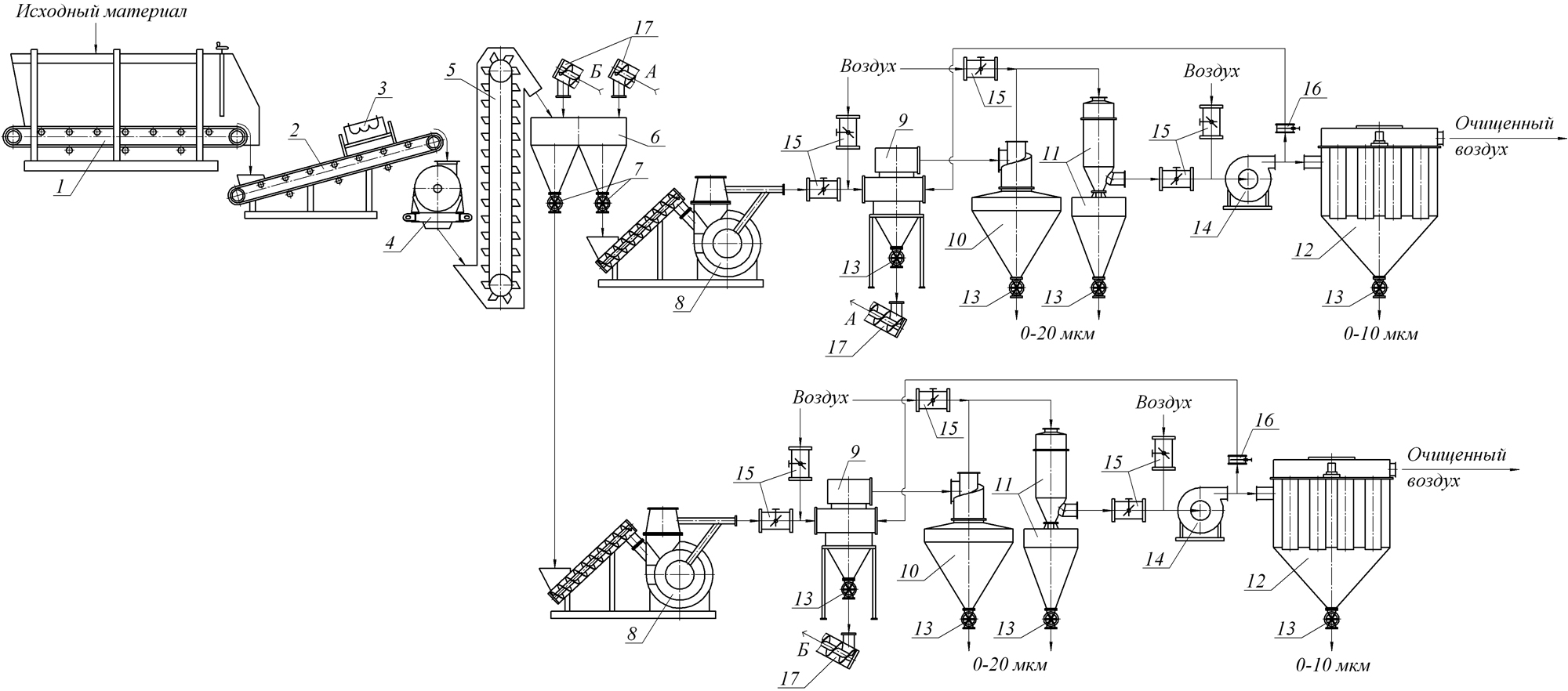
Схема измельчения доменного шлака

Технические характеристики

  • Производительность – до 2 т/ч;
  • Влажность исходного материала – 2%;
  • dнач = 20 мм, dкон = -20 мкм.
Измельчение доменного шлака

Список применяемого оборудования

  1. Питатель ленточный ПЛ-800;
  2. Ленточный конвейер В800;
  3. Магнитный сепаратор;
  4. Молотковая дробилка МПС-600Р;
  5. Элеватор;
  6. Расходный бункер;
  7. Питатель секторный ПС-30 (2 шт.);
  8. Помольный комплекс (2 шт.);
  9. Классификатор центробежный (2 шт.);
  10. Блок циклон-бункеров ЦБ-4,5×2 (2 шт.);
  11. Группа пылеуловителей ПЦ 2×2П (4 шт.);
  12. Блок фильтров рукавных ФР-11×2 (2 шт.);
  13. Питатель секторный ПС-1В (14 шт.);
  14. Вентилятор ВВД (4 шт.);
  15. Шиберные заслонки Ду200 (20 шт.);
  16. Шибер Ду150 (4 шт.);
  17. Транспортная система (2 шт.).

Линия по измельчению анодного огарка

Технические характеристики

  • Производительность линии – до 15,0 т/ч.
  • Исходная фракция – dнач = -300 мм.
  • Получаемая фракция – dкон = 0; -30 мм, влажность до 6%.
Измельчение анодного огарка

Список применяемого оборудования

  1. Фронтальный погрузчик;
  2. Питатель ленточный ПЛ-800/650;
  3. Магнитный сепаратор СМПР-2;
  4. Дробилка МПС-950;
  5. Конвейер ленточный В800;
  6. Грохот инерционный ГИС 33;
  7. Конвейер ленточный В650.

Линия по измельчению шлака

Технические характеристики

  • Производительность – 500 т/сут.
  • Готовый продукт – дробленный шлак 0-20 мм.
  • Работа односменная десятичасовая, коэффициент использования оборудования – 0,85.
  • Часовая производительность – 59 т/ч.
  • Коэффициент запаса оборудования – 1,2.
  • Расчетная производительность – 70 т/ч.
Измельчение шлака

Список применяемого оборудования

  1. Питатель пластинчатый Q = 40-60 м3/ч;
  2. Дробилка щековая Q = 60 т/ч;
  3. Конвейер ленточный B800 Q = 70 м3/ч;
  4. Ленточные питатели Q = 50 м3/ч;
  5. Магнитные сепараторы;
  6. Дробилки МПС-950 Q = 35 т/ч;
  7. Конвейер ленточный B800 Q = 100 м3/ч;
  8. Грохот (щель 20 мм) Q = 70 т/ч;
  9. Конвейер ленточный B650 Q = 70 м3/час.

Порядок работы оборудования

  1. Исходный материал загружается в бункер пластинчатого питателя (поз. 1), который обеспечивает необходимую регулируемую загрузку щековой дробилки (поз. 2).
  2. Раздробленный материал из дробилки забирается ленточным конвейером (поз. 3), который подает на два ленточных питателя (поз. 4). На трассе питателей смонтированы магнитные сепараторы (поз. 5), для отбора из основного продукта металлических включений.
  3. Питатели обеспечивают загрузку дробилок МПС-950 (поз. 6), в которых происходит измель-чение до фракции готового продукта.
  4. Полученный материал из дробилок подается ленточным конвейером (поз. 7) в грохот (поз. 8), в котором происходит разделение на фракцию -20 мм и отсев.
  5. Готовый продукт транспортируется ленточным конвейером (поз. 9) на склад, а отсев – на повторное дробление.

Обсудить задачу
Обсудить задачу
Отправьте заявку — с вами свяжется инженер:
  • Обсудить технические вопросы
  • Подготовить коммерческое предложение
  • При необходимости договориться о встрече
  • Организовать экскурсию на производство